TOPOG-E Fitting Instructions
STEP 1

Remove old gasket and thoroughly clean the surface on boiler and on cover plate. If the gasket being replaced is not a Topog-E® gasket it may be necessary to buff each surface. Place a new Topog-E® gasket on inspection cover plate, and make sure that the gasket is pushed down tight on the plate.
Do not use any grease, lubricant or adhesive. When the cover plate is in the boiler and the gasket is in place, make one last cleaning swipe using a rag wrapped around your finger to ensure the mating surface in the boiler is clean.
STEP 2

When Fitting Cold:
Set crab, then centre plate in opening and tighten nut enough to give a snug fit. Make it hand tight then increase pressure on the gasket with a quarter turn of a wrench.
STEP 3

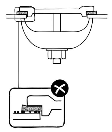
Gaskets on the bottom of a boiler shell are typically more difficult to install without leaking because small particles tend to become lodged between the mating surfaces after they have been cleaned. This can lead to over-tightening of the gasket to stop leakage. It is recommended to drain the boiler and start over, otherwise the gasket's service life may be shortened.
STEP 4

Do not over-tighten as it will over-compress the gasket and shorten its service life.
If the gasket leaks while pressure is being built up, tighten only enough to stop leakage. This prevents the vacuum that's developed by cooking on a shut down from pulling in and draining the boiler.
STEP 5

Topog-E® gaskets are sold for use in steam, water, air and other selected applications only. Recommendations for their use are based on tests believed to be reliable and on actual customer experience. Since their installation and use are beyond our control we cannot guarantee the results, whether or not use such cause is in accordance with instructions. We disclaim any responsibility.
Never re-use a Topog-E® gasket!
As pressure builds up to operating level in the boiler, the nut and crab will loosen as it typically takes several days for the gasket to reach its ultimate compression. It is important to keep the nut at least finger tight until it no longer loosens.
Topog-E® bolt gaskets (when required) should be used with Topog-E® handhole gaskets
